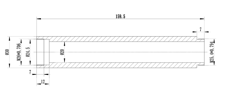
Product parameters:
The tube is used to connect the standard microscope objective to the CCD, so that the microscope objective can be directly used for digital imaging.
One end of the tube is the standard objective interface, and the other end is the standard C interface.
| Model :WZ-25.4 | Length :132.4 |
| Diameter: Medium 25.4(maxp26.5) | Thread size :4/5 "-1/36" and 1 "-1/32" |

Model: 56-992
C interface, thread specification is 1 inch diameter, thread is 32 teeth/inch for MT40
Shot knowledge
For most lenses, it is obvious that the closer the object is to the lens, the higher the image will be produced. Therefore, equal-height objects will produce perspective distortion in the image plane due to different object distances. In many measurement applications, an imaging system capable of generating parallel projection is needed to eliminate perspective distortion and remove physical measurement errors caused by perspective distortion, which requires the use of telecentric lenses. Now the telecentric mirror has been widely used in the machine industry measurement and calibration.
principle
The main light of the telecentric lens is parallel to the optical axis, within a certain range, regardless of whether the distance changes, the magnification is unchanged, the system's entry pupil (or exit pupil) is at infinity, when the position of the object changes, the perspective error is very small, therefore, change the distance within the depth of field, the image height is unchanged. This lens is ideal for precise measurements.
Telecentric lenses are usually divided into three categories: object telecentric lenses, image telecentric lenses, and two-sided telecentric lenses.
Object telecentric lens
The object telocentric lens diaphragm is located at the rear focal plane of the objective lens, the entry pupil is located at infinity, the object distance changes the magnification is unchanged, the incident square light is parallel to the optical axis, r is shown in the figure.

Like a square telecentric lens
The object telocentric lens aperture is located on the front focal plane of the objective lens, the exit pupil is located at infinity, the image plane changes the magnification does not change, and the main ray of the exit is parallel to the optical axis.

Both sides telecentric lens
The two sides of the telecentric lens stop is located on the common focal plane (i.e. the rear focal plane of the front group, the front focal plane of the back group), and the entry pupil and exit pupil are located at infinity. Within a certain range, no matter the object distance or image distance is changed, the magnification will not change.










